...

Lab Filter

Sparkler® Lab Filter

Introducing the Sparkler® Lab Filter—a compact, efficient, and versatile solution designed for laboratory-scale solid-liquid separation processes. Built with the same dedication to quality and performance as our industrial-scale filtration solutions, the Sparkler® Lab Filter is perfect for research, product development, and pilot testing applications.

lab filter illustration
Sparkler LoopWave
left logo heading

Key Features

right logo heading
Compact and Versatile

The Sparkler® Lab Filter offers 1,000–4,000 mL capacities with pressure or vacuum operation up to 100 PSIG. Flexible media options—including paper, synthetics, or membranes—ensure zero-leak performance and optimized separation for diverse laboratory applications.

Compact and Versatile

High-Performance Design

Constructed in 316L stainless steel with optional C-276 Hastelloy, this sanitary lab filter includes a removable shell for easy cleaning, full product recovery, and flexible vacuum configurations, ensuring efficient, low-maintenance operation.

High-Performance Design

Convenient reliable operation
  • Features an adjustable-height base
    ranging from 6 to -20 inches for
    ergonomic usability.
  • Outfitted with sanitary inlet and outlet
    piping, a pressure gauge, and an
    adjustable air vent assembly for plug-
    and-play operation.

Convenient and Reliable Operation

left logo heading

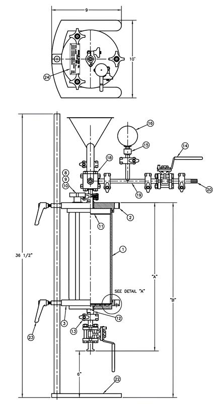
Simple Parts List Drawings

right logo heading

1. Tank Shell


2. Cover
3. Bottom Plate

4. Sealing O-Ring
5. Filter
6. Compression Rods

7. Baffle Plate
8. Pressure Gauge
9. Air Inlet
10. Funnel (Inlet)
11. Positioner Nut

12. Sanitary Clamp
13. Sanitary Ferrule

The Sparkler® Lab Filter is engineered to excel in:

  • Research and Development :
    • Perfect for testing filtration methods on new formulations or substances.
  • Chemical Processing :
    • Suitable for micro-batch chemical separation.
  • Pharmaceutical Applications :
    • Ensures sanitary conditions for processing and testing APIs and other sensitive compounds.
  • Pilot Testing :
    • Facilitates accurate scale-up to full production.

Specification

Capacity

Diameter

Construction

Design Pressure

Temperature Range

Differential Pressure

Gasket Material

Inlet/Outlet

Details

1,000 mL to 4,000 mL

~5-1/2 inches

316L Stainless Steel

100 PSIG

-20°F to 450°F

100 PSIG

PTFE (Teflon)

1/2" sanitary piping

left logo heading

Dimensional Drawing

right logo heading
teenyicons tick

Built for Precision:

Our Lab Filter combines advanced engineering with meticulous craftsmanship to ensure accurate and repeatable results in every application.

teenyicons tick

Proven Performance:

Backed by Sparkler’s nearly 100 years of expertise in solid-liquid separation, the Lab Filter ensures reliable performance and long-term durability.

teenyicons tick

Exceptional:

With lifetime technical support, access to our extensive application solutions library, and a comprehensive warranty, you can count on Sparkler to partner with you every step of the way.

about-us-image
Optional Finishes & Treatments
Standard Flow Precoat Bodyfeed
Dry Cake Discharge transport
Dry cake discharge container
Dry Cake Discharge Collection Tray
Dry Cake Discharge Filter Setup
Sparkler WCD system integrated with rotary drum filter for slurry separation.
Wet Cake Discharge connected to slurry tank and pump system for solids removal.
Wet Cake Discharge with Slurry Pit
Wet Cake Discharge filter setup
Mineral Recovery
Nutsche filter type